Профтемы студенту и преподавателю
Taketop.ru
СТУДЕНТУ И ПРЕПОДАВАТЕЛЮ
лекции по дисциплинам
Технология продовольственных продуктов и потребительских товаров :: Линии, оборудование мини - производств предприятий торговли и общественного питания
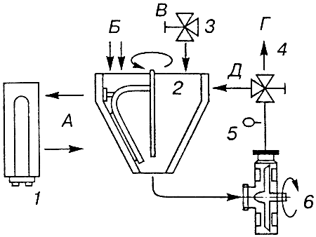
Установка для получения пастообразных молочных продуктов
 
 
 
 
 
 
 
 
 
 













 
Схема установки для получения пастообразных молочных продуктов:
1 — блок подготовки горячей воды; 2 — бункер для приготовления и термизации;
3 — дозатор жидких компонентов; 4 — кран трехходовой; 5 — датчик температуры; 6 — насос-смеситель; А — горячая вода; Б — сухие компоненты и компоненты на белковой основе; В — жидкие компоненты; Г — выход готового продукта; Д — циркуляция смеси
В результате научных исследований разработана ресурсосберегающая технология подготовки белковой массы для переработки в сырную пасту, позволяющая избежать возникновения крупитчатой консистенции. Сырная паста приобретает гомогенную однородную структуру и чистый кисломолочный вкус и аромат. Внесение различных наполнителей позволяет удовлетворить спрос широкого круга потребителей, а низкая себестоимость делает этот продукт рентабельным для производителя и доступным для всех слоев населения. Последующая термическая обработка и горячий асептический розлив в полистироловые стаканчики с термозапайкой позволяют значительно увеличить срок годности продукта, что важно как для производителя, так и для предприятий торговли.

Работы, представленные на сайте http://taketop.ru, предназначено исключительно для ознакомления. Все права в отношении работ и/или содержимого работ, представленных на сайте http://taketop.ru, принадлежат их законным правообладателям. Администрация сайта не несет ответственности за возможный вред и/или убытки, возникшие или полученные в связи с использованием работ и/или содержимого работ, представленных на сайте http://taketop.ru
Рейтинг@Mail.ru
Сайт управляется SiNG cms © 2010-2015